| Status de disponibilidade: | |
|---|---|
| Quantidade: | |
GD-6532
GOLD
Testador de teor de sal de petróleo bruto
O testador de conteúdo de sal de petróleo bruto GD-6532 foi projetado e fabricado de acordo com os requisitos da República Popular da China padrão GB/T6532 "petróleo bruto e seus produtos Método de determinação do conteúdo de sal ". É adequado para a determinação do halogeneto total com concentração de 0,002 ~ 0,02% (peso) em petróleo bruto, petróleo bruto, resíduos rachados e combustível. Também pode ser usado para determinar a situação de óleo de turbina a vapor usado e óleo combustível marinho contaminado pela água do mar. Quando a precisão necessária não é maior que o intervalo especificado neste método, ele também pode ser usado para outros produtos.
Estrutura principal:
⑴ Extrator: é composto pelo balão e a parte de aquecimento, o volume do balão é de 500 ml; A parte de aquecimento é composta pelo fio de aquecimento elétrico na extremidade inferior.
⑵ Funil de queda cilíndrico: é usado para adicionar tolueno quente, etanol absoluto, acetona e outros reagentes e fazer separação quantitativa de líquidos.
⑶ Condensador: condensa o gás destilado.
⑷ Móbulo de ajuste da temperatura: usado para aquecer a solução de teste que precisa ser aquecida.
⑸ Pistão de funil de separação: o pistão de controle do extrator para descarregar a solução.
Flask Erlenmeyer: Frasco de Erlenmeyer da boca de moagem, usada para receber a solução descarregada do balão.
⑺ Plugue de aviação: Fio de aquecimento do extrator plugue de energia de trabalho
Principal TEchnical Parametadores:
1. Extrator: atenda às especificações e dimensões dos copos no padrão GB/T6532.
2. O poder de aquecimento do extrator: 300W × 2
3. Fonte de alimentação: CA (220V ± 10V), 50Hz
Observações: O cliente precisa preparar o agitador magnético e o titular potenciométrico.
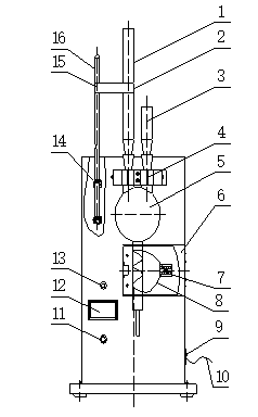
Estrutural Fasturas:
O instrumento é composto principalmente de balão de extrator, bobina de aquecimento, cobertura protetora, condensador, funil de separação cilíndrica (cair funil), dispositivo de fixação, placa de controle de temperatura ajustável, suporte de temperatura ajustável, suporte de pólo, pólo, fio superior, pinça universal, pano de Erlenmeyer,, etc. A estrutura é mostrada à esquerda:
1. Condensador 9. interruptor de energia
2. Clipe universal 10. cabo de alimentação
3. Funil soltando 11. botão de ajuste de tensão
4. Dispositivo de fixação 12. Voltímetro de exibição digital
5. Frasco do extrator 13. Indicador de energia
6. Tampa de proteção 14. Polo Suporte
7. Plugue de aviação 15. fio superior duplo
8. Bobina de aquecimento 16. Pólo
Imagens detalhadas:
Testador de teor de sal de petróleo bruto
O testador de conteúdo de sal de petróleo bruto GD-6532 foi projetado e fabricado de acordo com os requisitos da República Popular da China padrão GB/T6532 "petróleo bruto e seus produtos Método de determinação do conteúdo de sal ". É adequado para a determinação do halogeneto total com concentração de 0,002 ~ 0,02% (peso) em petróleo bruto, petróleo bruto, resíduos rachados e combustível. Também pode ser usado para determinar a situação de óleo de turbina a vapor usado e óleo combustível marinho contaminado pela água do mar. Quando a precisão necessária não é maior que o intervalo especificado neste método, ele também pode ser usado para outros produtos.
Estrutura principal:
⑴ Extrator: é composto pelo balão e a parte de aquecimento, o volume do balão é de 500 ml; A parte de aquecimento é composta pelo fio de aquecimento elétrico na extremidade inferior.
⑵ Funil de queda cilíndrico: é usado para adicionar tolueno quente, etanol absoluto, acetona e outros reagentes e fazer separação quantitativa de líquidos.
⑶ Condensador: condensa o gás destilado.
⑷ Móbulo de ajuste da temperatura: usado para aquecer a solução de teste que precisa ser aquecida.
⑸ Pistão de funil de separação: o pistão de controle do extrator para descarregar a solução.
Flask Erlenmeyer: Frasco de Erlenmeyer da boca de moagem, usada para receber a solução descarregada do balão.
⑺ Plugue de aviação: Fio de aquecimento do extrator plugue de energia de trabalho
Principal TEchnical Parametadores:
1. Extrator: atenda às especificações e dimensões dos copos no padrão GB/T6532.
2. O poder de aquecimento do extrator: 300W × 2
3. Fonte de alimentação: CA (220V ± 10V), 50Hz
Observações: O cliente precisa preparar o agitador magnético e o titular potenciométrico.
Estrutural Fasturas:
O instrumento é composto principalmente de balão de extrator, bobina de aquecimento, cobertura protetora, condensador, funil de separação cilíndrica (cair funil), dispositivo de fixação, placa de controle de temperatura ajustável, suporte de temperatura ajustável, suporte de pólo, pólo, fio superior, pinça universal, pano de Erlenmeyer,, etc. A estrutura é mostrada à esquerda:
1. Condensador 9. interruptor de energia
2. Clipe universal 10. cabo de alimentação
3. Funil soltando 11. botão de ajuste de tensão
4. Dispositivo de fixação 12. Voltímetro de exibição digital
5. Frasco do extrator 13. Indicador de energia
6. Tampa de proteção 14. Polo Suporte
7. Plugue de aviação 15. fio superior duplo
8. Bobina de aquecimento 16. Pólo
Imagens detalhadas: